高光譜成像儀運用瞭面陣探測器與光栅分光系統的技術,它的性能得到瞭極大的提升,應用也更爲廣泛。本文主要介紹瞭光栅式高光譜成像儀的結構構成和工作原理。

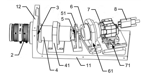
高光譜成像儀的結構構成主要包括底闆以及固定於(yú)所述底闆並(bìng)沿所述底闆的一端向另一端的方向依次間隔設置的鏡頭、狹縫、準直鏡、透射光栅、聚焦鏡和探測器等,參考上圖。
簡單來說,光栅式高光譜成像儀主要由光譜儀和成像系統兩大主要部分組成。通過處(chù)理分析軟件,在獲得影像中每一個像素點的光譜信息的同時,可以獲得每一個波譜下的影像信息,即獲得一個三維的信息數據。光譜分辨率精度可以達到幾個納米到幾十個納米,這相對於(yú)普通的RGB成像更能在不破壞樣本的情況下,精準的掌握樣本更多的信息。
難關研究表明:探測(cè)器上設置串口總線接口,並(bìng)限定狹縫的寬度和長度,同時限定各部件之間的光軸角度,從而可以使其獲取更高分辨率、更高靈敏度以及更低雜散度的光譜圖像。

光栅式高光譜成像儀和其他高光譜成像儀一樣,能夠達到很高的光譜分辨率,在400-1000nm的範圍内光譜分辨率通常優於(yú)10nm,並(bìng)且具備連續光譜成像的特點。
目前主流的分光方式爲反射式光栅分光,其通過前置鏡頭與反射式光栅的光學結構耦合光路,並(bìng)利用面陣相機採(cǎi)集物質的光譜圖像。
但随著(zhe)光栅式高光譜成像儀的光譜與空間分辨率的需求提升,如何獲取更高分辨率、更高靈敏度以及更低雜散度的光譜圖像成爲瞭(le)其最主要的問題。